全國服務熱(re)線
産(chǎn)品圖紙



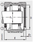
| 型号 | |
|---|---|
| 軸(zhou)承 | SNV150-L |
| 座軸承 | 22217-E1-K |
| 緊(jin)定套 | H317 |
| 止動環(huan) 2件 | FRM150/12.5 |
| 雙唇密封(fēng)圈 | DH517 |
| 帶O形圈的(de) 迷宮密封圈(quān) | TSV517 |
| 毛氈密封 | FSV517 |
| V型(xing)圈 | DHV517 |
| Taconite 密封 | TCV517 |
| 軸承(chéng)蓋 | DKV150 |
| 尺寸 | |
| d 1 mm | 75 |
| d 1 inch | - |
| a | 320 |
| g | 140 |
| h 1 | 189 |
| b | 90 |
| c | 32 |
| D | 150 |
| g L | 155.3 |
| g v | 148 |
| g T | 181 |
| g 3 | 15 |
| h | 95 |
| m | 260 |
| u | 22 |
| v | 27 |
| s mm | M20 |
| s inch | 3/4 |
| 質量(liang)m 軸承座 ≈kg | |
| 質量(liàng)m 軸承座 ≈kg | 9.9 |
地址(zhi)
聯系(xì)電話
電(diàn)子郵件
Copyright © 河北(běi)绵阳春洁精(jīng)密制造有限(xiàn)责任公司(急(ji)速版) 版權所(suǒ)有 備案号:冀(ji)ICP備2021001625号-1
技術支(zhi)持:華軸網